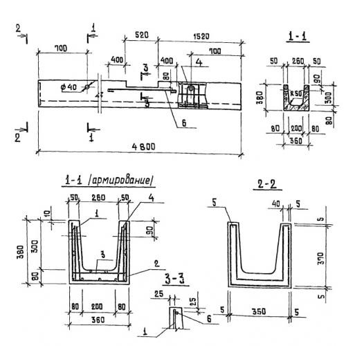
ЛТ 18

Чертеж изделия:
Характеристики изделия:
ПараметрЗначение
длина4800 мм
ширина360 мм
высота380 мм
вес825 кг
серияТП 902-2-356

ЛТ 18 Лотки  по проекту ТП 902-2-356.