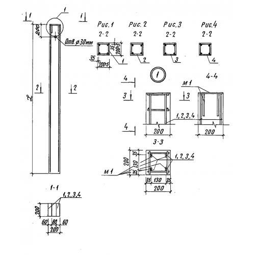
С 40.2 Стойка

Чертеж изделия:
Характеристики изделия:
ПараметрЗначение
длина4000 мм
ширина200 мм
высота200 мм
масса400 кг
нормативный документТП 501-07-3.83.

С 40.2  Стойки по Типовому проекту ТП 501-07-3.83.