ПСТ 57.9.3.5

Чертеж изделия:
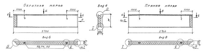
Характеристики изделия:
ПараметрЗначение
длина5700 мм
ширина350 мм
высота885 мм
масса2070 кг
нормативный документШифр  М25.13/98

ПСТ 57.9.3.5 Панели стеновые трёхслойные по Шифру М25.13/98.