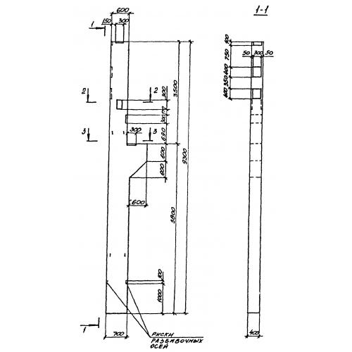
К 1
Характеристики изделия:
| Параметр | Значение |
|---|---|
| длина | 2520 мм |
| ширина | 400 мм |
| высота | 400 мм |
| вес | 1150 кг |
| серия | ИИ 22-1 |
Цена:
Рассчитать стоимостьК 1 Колонны по серии ИИ 22-1.
| Параметр | Значение |
|---|---|
| длина | 2520 мм |
| ширина | 400 мм |
| высота | 400 мм |
| вес | 1150 кг |
| серия | ИИ 22-1 |
К 1 Колонны по серии ИИ 22-1.
