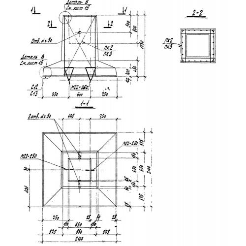
ФЖ 15
Характеристики изделия:
| Параметр | Значение |
|---|---|
| длина | 2100 мм |
| ширина | 2100 мм |
| высота | 1750 мм |
| масса | 6700 кг |
| нормативный документ | Серия 71159-С |
Цена:
Рассчитать стоимостьФЖ 15 Фундаменты колонн стаканного типа по Серии 71159-С.
| Параметр | Значение |
|---|---|
| длина | 2100 мм |
| ширина | 2100 мм |
| высота | 1750 мм |
| масса | 6700 кг |
| нормативный документ | Серия 71159-С |
ФЖ 15 Фундаменты колонн стаканного типа по Серии 71159-С.
