К

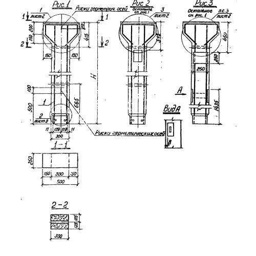
Чертеж изделия:
Характеристики изделия:
ПараметрЗначение
длина3430 мм
ширина600 мм
высота250 мм
вес730 кг
серия3.702-1/79

К Колонны по серии 3.702-1/79.