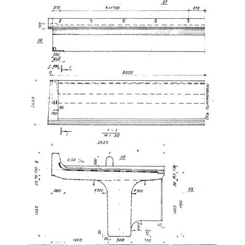
Б 165

Чертеж изделия:
Характеристики изделия:
ПараметрЗначение
длина16500 мм
ширина2420 мм
высота1800 мм
вес53200 кг
Серия3.501.1-146

Б 165 Балки ребристые пролетных строений по Серии 3.501.1-146.