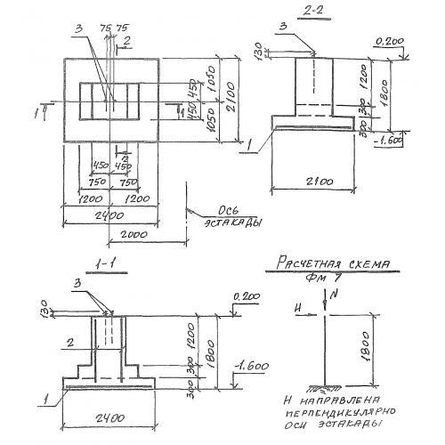
Фм 7

Чертеж изделия:
Характеристики изделия:
ПараметрЗначение
длина2400 мм
ширина2100 мм
высота1800 мм
масса7250 кг
нормативный документСерия 3.016.2-12

Фм 7  Фундаменты монолитные Серия 3.016.2-12.