К 7

Чертеж изделия:
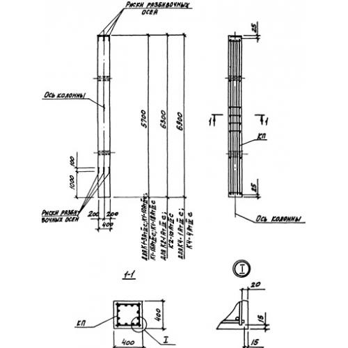
Характеристики изделия:
ПараметрЗначение
длина6900 мм
ширина500 мм
высота400 мм
масса3500 кг
нормативный документСерия 3.015-3/92

К 7  Колонны Серия 3.015-3/92.