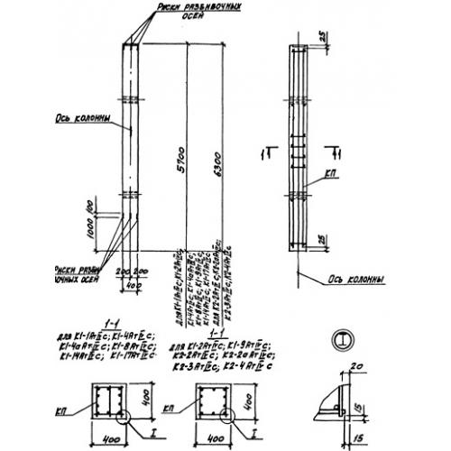
К 2

Чертеж изделия:
Характеристики изделия:
ПараметрЗначение
длина6300 мм
ширина400 мм
высота400 мм
масса2500 кг
нормативный документСерия 3.015-3/92

К 2  Колонны Серия 3.015-3/92.