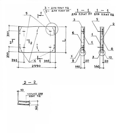
ПД 300.240.14 плиты днища

Чертеж изделия:
Характеристики изделия:
ПараметрЗначение
длина2990 мм
ширина2380 мм
высота140 мм
масса2500 кг
нормативный документСерия 3.006.1-8

ПД 300.240.14  Плиты днища каналов Серия 3.006.1-8.