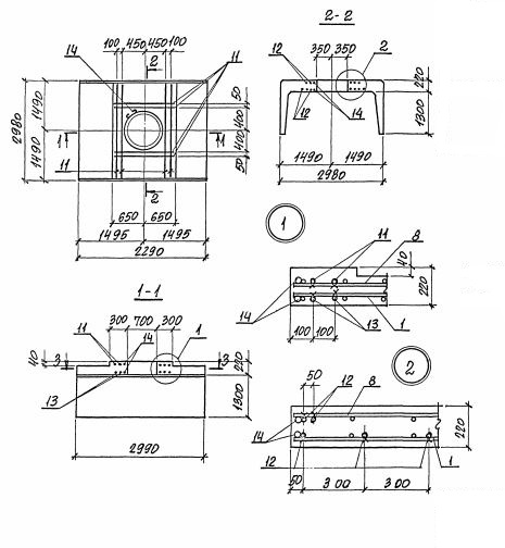
ЛКО 300.300.150 лотки

Чертеж изделия:
Характеристики изделия:
ПараметрЗначение
длина2990 мм
ширина2980 мм
высота1480 мм
масса7376 кг
нормативный документСерия 3.006.1-8

ЛКО 300.300.150  Лотки каналов Серия с отверстием 3.006.1-8.