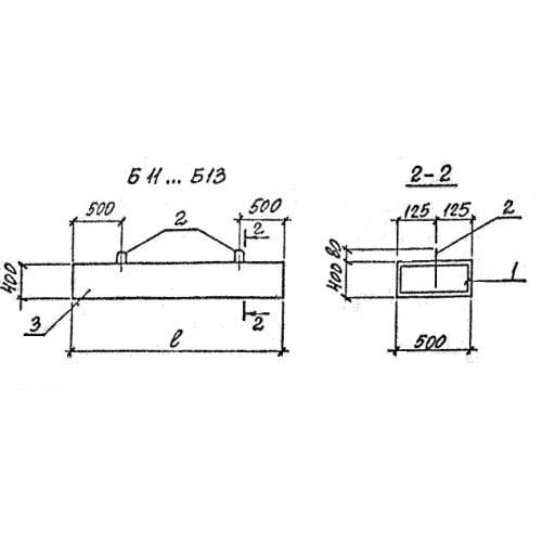
Б 11 балки
Характеристики изделия:
| Параметр | Значение |
|---|---|
| длина | 4080 мм |
| ширина | 500 мм |
| высота | 400 мм |
| масса | 2000 кг |
| нормативный документ | Серия 3.006.1-8 |
Цена:
Рассчитать стоимостьБ 11 Балки перекрытия каналов Серия 3.006.1-8.
| Параметр | Значение |
|---|---|
| длина | 4080 мм |
| ширина | 500 мм |
| высота | 400 мм |
| масса | 2000 кг |
| нормативный документ | Серия 3.006.1-8 |
Б 11 Балки перекрытия каналов Серия 3.006.1-8.
