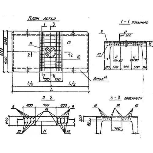
Ло 21

Чертеж изделия:
Характеристики изделия:
ПараметрЗначение
длина5970 мм
ширина2160 мм
высота1340 мм
вес9120 кг
серия3.006-2

Ло 21 Лотки теплотрасс с отверстием  по серии 3.006-2.