К 120

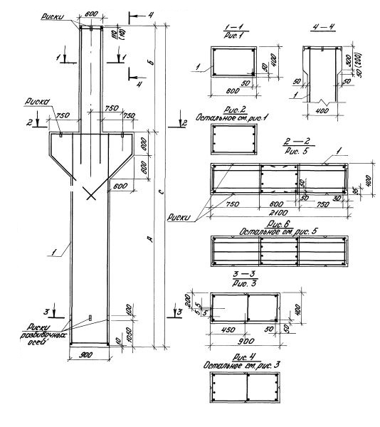
Чертеж изделия:
Характеристики изделия:
ПараметрЗначение
длина12500 мм
ширина400 мм
высота2100 мм
масса11300 кг
нормативный документСерия 1.424.1-5

К 120  Колонны средние Серия 1.424.1-5.