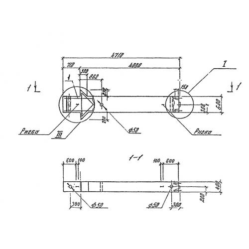
К 32
Характеристики изделия:
| Параметр | Значение |
|---|---|
| длина | 4710 мм |
| ширина | 400 мм |
| высота | 1140 мм |
| вес | 2900 кг |
| серия | 1.421.1-1.93 |
Цена:
Рассчитать стоимостьК 32 Колонны по серии 1.421.1-1.93.
| Параметр | Значение |
|---|---|
| длина | 4710 мм |
| ширина | 400 мм |
| высота | 1140 мм |
| вес | 2900 кг |
| серия | 1.421.1-1.93 |
К 32 Колонны по серии 1.421.1-1.93.
