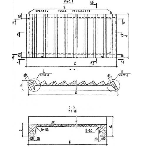
ЛМФ 42.15.18 Лестничные марши с фризовыми ступенями

Чертеж изделия:
Характеристики изделия:
ПараметрЗначение
длина4249 мм
ширина1500 мм
высота1800 мм
масса1680 кг
нормативный документСерия 1.251.1-4

ЛМФ 42.15.18  Лестничные марши ребристые с фризовыми ступенями Серия 1.251.1-4.