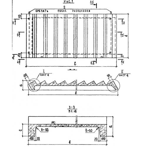
ЛМ 21.15

Чертеж изделия:
Характеристики изделия:
ПараметрЗначение
длина4946 мм
ширина1500 мм
высота349  мм
вес2080 кг
серия1.251-3

ЛМ 21.15 Лестничные марши ребристые по серии 1.251-3.