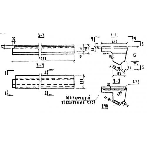
ЛС 11-17 к ступень верхняя фризовая с четвертью

Чертеж изделия:
Характеристики изделия:
ПараметрЗначение
длина1050 мм
ширина290 мм
высота171 мм
масса83 кг
нормативный документСерия 1.155-1

ЛС 11-17  Лестничные ступени Серия 1.155-1.