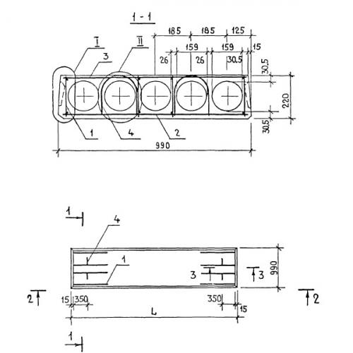
ПК 24.10 Плиты перекрытия железобетонные многопустотные

Чертеж изделия:
Характеристики изделия:
ПараметрЗначение
длина2380 мм
ширина990 мм
высота220 мм
масса712 кг
нормативный документСерия 1.141-1

ПК 24.10  Плиты перекрытия железобетонные многопустотные Серия 1.141-1.