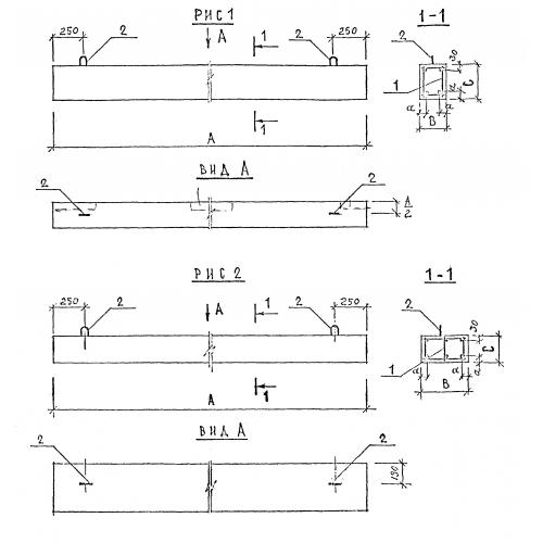
Б 55.18.30

Чертеж изделия:
Характеристики изделия:
ПараметрЗначение
длина5550 мм
ширина180 мм
высота300 мм
вес750 кг
серия1.126.1 КЛ-1

Б 55.18.30 Балки по серии 1.126.1 КЛ-1.