НЦ 32.22.30
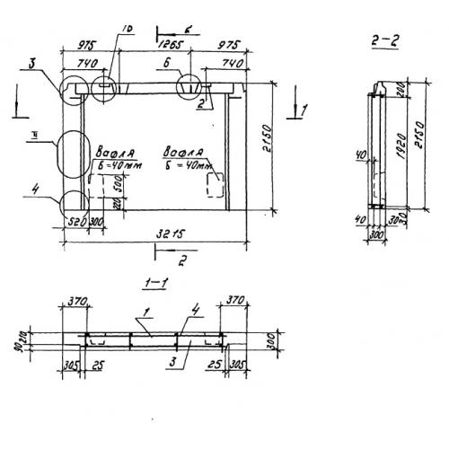
Характеристики изделия:
| Параметр | Значение |
|---|---|
| длина | 3215 мм |
| ширина | 300 мм |
| высота | 2150 |
| вес | 3140 кг |
| серия | 1.100.1-7 |
Цена:
Рассчитать стоимостьНЦ 32.22.30 Наружная цокольная стеновая панель по серии 1.100.1-7.
| Параметр | Значение |
|---|---|
| длина | 3215 мм |
| ширина | 300 мм |
| высота | 2150 |
| вес | 3140 кг |
| серия | 1.100.1-7 |
НЦ 32.22.30 Наружная цокольная стеновая панель по серии 1.100.1-7.
