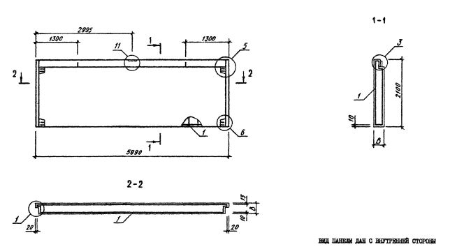
ПСЦ 60.21.3,0-П-ПВ

Чертеж изделия:
Характеристики изделия:
ПараметрЗначение
длина5990 мм
ширина300 мм
высота2100 мм
масса4780 кг
нормативный документСерия 1.090.1-3пв
Панели наружных стен нулевого цикла однослойные для сборного варианта (Серия 1.090.1-3пв).
ПСЦ 60.21.3,0-П-ПВ  Панели стеновые нулевого цикла (цокольные).
 
Цифра первой группы означает отличие в типах или расположении вертикальных торцов панели (зеркальность), наличие проема.
Вторая группа цифр (записаны через точки) обозначает габариты панели (длина, высота, толщина) в дециметрах.
П - вид бетона - бетон на пористых заполнителях.
ПВ - изделия предназначены для строительства зданий на просадочных грунтах и на подрабатываемых территориях.