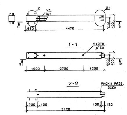
КВ 60

Чертеж изделия:
Характеристики изделия:
ПараметрЗначение
длина5120 мм
ширина400 мм
высота400 мм
масса2047 кг
нормативный документСерия 1.020.1-2с/89

КВ 60 Колонны верхние Серия 1.020.1-2с/89.