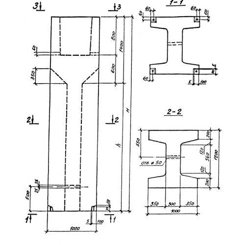
ВБ 10.12.51

Чертеж изделия:
Характеристики изделия:
ПараметрЗначение
длина1000 мм
ширина1200 мм
высота5090 мм
вес10290 кг
серия0-221-84

ВБ 10.12.84 Блоки-стаканы верхние по серии 0-221-84.